ПРОДУКЦИЯ
Продукция
Свяжитесь с нами
ОПИСАНИЕ ПРОДУКТА
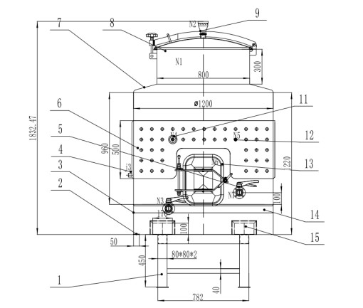
Этот тип контейнера оснащен отверстиями для вилочного погрузчика или рамными конструкциями, что позволяет вилочным погрузчикам легко вставлять вилы для обработки, тем самым упрощая процесс погрузки и разгрузки;

1. Встроенные карманы для вилочного погрузчика (обязательная характеристика)
Это определяющая черта. Каждый винный бак для вилочного погрузчика имеет усиленные стальные карманы для вилочного погрузчика (обычно 2-4 кармана, симметрично расположенные на основании или нижних боковых стенках бака). Эти карманы рассчитаны на полный вес бака плюс вино внутри (полный бак на 500 галлонов может весить более 4500 фунтов!). Важно, что карманы утоплены или заподлицо - они не выступают, поэтому бак не зацепится за стеллажи, шланги или другое оборудование при перемещении. Мы никогда не используем внешние кронштейны здесь - они слишком легко ломаются под тяжелыми нагрузками.
2. Складываемая конструкция (для экономии места при хранении)
Большинство винных баков для вилочного погрузчика можно складывать, когда они пустые (а иногда и частично заполненные, с строгими ограничениями по весу). Верх бака имеет усиленный обод, который идеально подходит к основанию другого бака, поэтому вы можете складывать 2-3 бака друг на друга с помощью вилочного погрузчика. Это меняет правила игры для небольших и средних виноделен - вам не нужен огромный склад для хранения пустых баков в межсезонье. Профессиональный совет: всегда проверяйте рейтинг складывания производителя - никогда не складывайте полные баки, если они не предназначены для этого (большинство не предназначены, по соображениям безопасности).
3. Прочная, легкая конструкция (оптимизированная для обработки вилочным погрузчиком)
Эти баки почти всегда изготовлены из нержавеющей стали 304 или 316 (пищевой, устойчивой к коррозии, идеальной для кислого вина). Но толщина стали тщательно сбалансирована: достаточно толстая, чтобы удерживать вино без деформации, и достаточно тонкая, чтобы ее можно было перемещать стандартным складским вилочным погрузчиком (нет необходимости в тяжелом промышленном погрузчике). Основание также усилено прочной стальной рамой - это предотвращает изгиб или растрескивание бака при подъеме вилочным погрузчиком, даже когда он полный.
4. Портативные размеры (адаптированные для маневренности вилочного погрузчика)
Винные баки для вилочного погрузчика имеют модульные, маневренные размеры - обычно от 50 галлонов (для небольших партий тестирования) до 1000 галлонов (для массового производства небольших партий). Они никогда не делаются больше, потому что более крупные баки были бы слишком широкими/длинными для безопасного перемещения вилочным погрузчиком на винодельне (где проходы часто узкие, с низкими потолками и крутыми поворотами). Эта портативность позволяет перемещать бак непосредственно от пресса к зоне брожения, затем в помещение для выдержки и, наконец, к линии розлива - нет необходимости перекачивать вино между фиксированными баками несколько раз (что снижает риск окисления!).
5. Удобные точки доступа для вилочного погрузчика (для легкого выполнения задач виноделия)
Клапаны, порты для отбора проб и люки доступа расположены на высоте, удобной для доступа при перемещении бака вилочным погрузчиком. Например, сливной клапан обычно находится на нижней стороне (но не так низко, чтобы он задевал вилы погрузчика), а порт для отбора проб находится на уровне груди - так что вам не нужно залезать на лестницу или опускать бак для взятия пробы вина. Некоторые модели даже имеют регулируемую высоту с помощью вилочного погрузчика - так оператор может поднять бак на точную высоту, необходимую для подключения к шлангам или линиям розлива, без дополнительных подставок.
6. Ударопрочные внешние поверхности (для складской обработки)
Давайте будем реалистами - вилочные погрузчики не всегда идеальны. Эти баки имеют усиленные угловые защитные элементы и устойчивые к царапинам покрытия на стали. Карманы для вилочного погрузчика также выложены толстой резиной или пластиком, чтобы предотвратить царапание бака вилами погрузчика (царапины со временем могут привести к коррозии, что испортит вино). Это делает их гораздо более долговечными, чем стандартные винные баки без вилочного погрузчика, которые легко повреждаются при попытке переместить их тяжелым оборудованием.
7. Совместимость со стандартными аксессуарами винодельни (без необходимости в специальных инструментах)
Винные баки для вилочного погрузчика работают со всем стандартным оборудованием винодельни, которое у вас уже есть: охлаждающие рубашки, нагревательные элементы, стойки и пробки. Единственное отличие состоит в том, что вы можете перемещать бак со всеми этими аксессуарами (при условии их надежного крепления) с помощью вилочного погрузчика. Это экономит массу времени - вам не нужно отключать и подключать шланги каждый раз, когда вы перемещаете бак. Например, вы можете ферментировать вино в баке, подключить охлаждающую рубашку, переместить его в холодильную камеру с помощью вилочного погрузчика и оставить для выдержки - все без контакта с вином внутри.
Получить предложение
Упаковка и доставка
Рекомендуемые товары